اختبار عداد الغاز بفوهة سونيك من نوع GNP
1、عام
• مرفق اختبار فوهة GNP الصوتية لعدادات الغاز هو جيل جديد من مرافق الاختبار الأوتوماتيكي بدقة عالية وكفاءة عالية وثبات جيد.
• يتكون مرفق الاختبار من فوهة صوتية ، ونظام أخذ عينات صور ديناميكي ، ومنضدة اختبار ، ومضخة تفريغ بدون زيت ، ودائرة غاز للتحكم ، ونظام شريحة واحدة ، وجهاز كمبيوتر وما إلى ذلك. وهي تعتمد فوهة صوتية كمعيار رئيسي ، وسيتم اختيار الفوهات تلقائيًا بواسطة الكمبيوتر الشخصي حسب معدل التدفق المختلف.يتم تقديم شريحة واحدة وتقنية تحويل A / D عالية الدقة لقياس درجة الحرارة والضغط والرطوبة تلقائيًا ، والمشاركة في حساب الأخطاء وتصحيحها.وبالتالي لضمان دقة مرفق الاختبار.يمكن للنظام بأكمله تحقيق اختبار تلقائي كامل تحت تحكم الكمبيوتر ولديه وظيفة حفظ البيانات الأصلية والاستعلام والطباعة.
• يمكن لمرفق الاختبار إجراء اختبار تلقائي لمقياس الغاز الحاجز G1.6 ، G2.5 ، G4.0 وفقًا لـ JJG577-2012.النظام مزود بأخذ عينات الصور الديناميكية ، ومدخل مسح الرمز الشريطي ، ومفتاح الاستلام التلقائي للقصبة وإشارة النبض لمقياس الغاز ، والتلقائي تعويضات لدرجة الحرارة والضغط ، وحكم الخطأ ، والاستعلام عن البيانات ، ووظيفة التخزين والطباعة.
2、الشخصيات الرئيسيه
• مناسبة لخطأ الاختبار G1.6 ، G2.5 ، G4.0 مقياس غاز الحجاب الحاجز المحلي تحت ثلاثة معدل تدفق Qmax,0.2 كيوماكس وكمين
• اعتماد فوهة فنتوري الصوتية كمعيار لها,حدد تلقائيًا أفضل مجموعة فوهة بواسطة الكمبيوتر وفقًا لمعدل التدفق المختلف.
• يتم اختبار العديد من عدادات الغاز في وقت واحد في اتصال متسلسل مما يحسن بشكل كبير من كفاءة الاختبار
• حدد تلقائيًا لاختبار مقياس غاز المدخل الأيسر أو مدخل الجانب الأيمن بواسطة صمام التحويل
• يمكن جمع إشارة قراءة عداد الغاز بسرعة,بدقة وموثوقية عبر معالج الصور الديناميكي
• استقبال تلقائي لإشارة تبديل القصب وإخراج إشارة النبض بواسطة مقياس غاز البطاقة الممغنطة
• بعد الاختبار,سيحدد النظام تلقائيًا أفضل معدل تروس لمقياس الغاز
• مستشعر الدقة,يتم تقديم نظام شريحة واحدة وتقنية تحويل A / D عالية الدقة لقياس درجة الحرارة والضغط والرطوبة تلقائيًا ، والمشاركة في حساب وتصحيح الخطأ في الوقت الفعلي ، وبالتالي لضمان دقة مقعد الاختبار
• يمكن للنظام بأكمله تحقيق اختبار تلقائي كامل تحت تحكم البرنامج.واجهة البرنامج تتميز بالمظهر الجميل والتشغيل السهل.يمكن لبيانات الاختبار ونتائج التحليل ربط برنامج Excel وذلك لإنجاز تقرير الاختبار بسرعة.كما أن لديها تخزين البيانات,طباعة الشهادة,وظيفة التحليل والإحصاء.
3、خصائص معالج الصور الديناميكي
• كفاءة عالية: لا يتعرف معالج الصور الديناميكي على عداد عداد الغاز فحسب ، بل يحسب أيضًا الرقم ويحسب الوقت تلقائيًا.هكذا,هذا يعني تقصير وقت التشغيل الفارغ قبل اختبار عداد الغاز.خاصة بالنسبة لـ 0.2Qmax و Qmin ، مما يعزز الكفاءة بشكل كبير.إذا قارنا أخذ العينات الإلكترونية الضوئية ، يمكن لمعالج الصور الديناميكي تحسين الكفاءة بنسبة 20٪ -40٪.
• اختبار المسافة الطويلة: يحتوي معالج الصور الديناميكي على بكسل عالٍ ، ويمكننا تكبيره 7سم بين الكاميرا وعداد الغاز.
• معدل تجميع عالٍ: يتمتع معالج الصور الديناميكي بمعدل نجاح أعلى من 99٪ والذي يجمع إشارة عداد الغاز.إنه يتغلب على الضبط اليدوي ، يصعب التركيز عليه ، حتى أنه يجمع الإشارة بشكل غير ثابت بعد الضبط.
معالج الصور الديناميكي
4、حالة العمل المحيطة
• درجة الحرارة المحيطة:20 ± 5℃
• الرطوبة النسبية: 30٪ ~ 80٪
• الضغط الجوي: 86 ~ 106 كيلو باسكال
• وسائط العمل:هواء
• مزود الطاقة:220 فولت تيار متردد
• إمدادات الهواء المضغوط:فوق 0.4 ميجا باسكال
• حجم المنشأة:4.8 م(L)* 0.61 م(W)* 1.8 م(H)
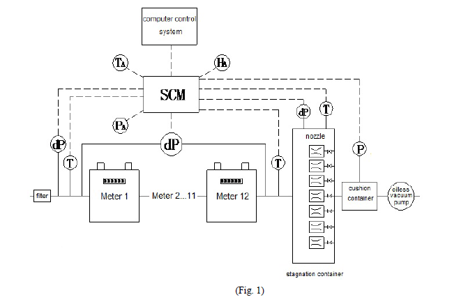
5、هيكل النظام ومبدأ العمل
5.1 هيكل النظام(رسم بياني 1)
5.2 مبدأ العمل
تعتمد المعدات على فوهة Venturi الصوتية كمعيار لها.تتميز فوهة فنتوري الصوتية ببنية بسيطة ، وأداء مستقر ، ودقة عالية ، وسهولة الصيانة ، ودائرة تحقق طويلة (5 سنوات) ، وعدم وجود أجزاء متحركة ، إلخ.
(فوهات سونيك)
أثناء التشغيل ، يتم تحقيق تدفق الهواء في خط الأنابيب عن طريق الضخ.يدخل الهواء متر تحت الاختبار من خلال الفلتر ، ونظام التحويل الأيسر والأيمن ، ثم إلى حاوية الركود ، ثم إلى حاوية العازلة عبر فوهة الصوت وصمام التحكم ، وأخيراً في الغلاف الجوي عبر مضخة فراغ خالية من الزيت.عندما يصل تدفق الغاز عبر الفوهة الصوتية إلى حالة حرجة ، فإن الكتلة ومعدل التدفق الذي يتم تمريره عبر العداد تحت فوهة الاختبار الصوتية سيظلان دون تغيير.
لذلك فإن التدفق على الرغم من فوهة الصوت في غضون الوقت أمر مؤكد.وفي الوقت نفسه ، سيستقبل النظام إشارة أخذ عينات من عداد الغاز,إشارة استشعار درجة الحرارة, إشارة مستشعر الضغط, إشارة استشعار الرطوبة,الحصول على خطأ في عداد الغاز بعد التصحيح التلقائي تجاه درجة الحرارة هذه,عامل تأثير الضغط والرطوبة.
6、المواصفات الفنية الرئيسية
• عدم اليقين في النظام:± 0.5٪
• مناسبة لاختبار G1.6,G2.5,G4.0 عداد غاز الحجاب الحاجز
• العداد المراد اختباره:6 ، 8 ، 12 قطعة
7、التركيب والتكليف
• إجراء التركيب
• ربط مقعد الاختبار والكمبيوتر
• قم بتوصيل طاقة النظام ومصدر الهواء
• قم بتشغيل الكمبيوتر وتثبيت قاعدة البيانات وبرامج الاختبار الخاصة
8、إجراءات التكليف
• تحقق مما إذا كانت جميع إعدادات المعلمات صحيحة
• تحقق مما إذا كان الاتصال بين الكمبيوتر ومنضدة الاختبار أمرًا طبيعيًا
9、تثبيت البرامج
• متطلبات النظام
• وحدة المعالجة المركزية Intel Pentium III 866 MHz
• نظام Windows XP أو Windows7
• مساحة حرة على القرص تبلغ 2 جيجا بايت
• قرص مضغوط 4X السرعة
• 2 واجهة USB
• RS-232 كوم المسلسل بور
10、صورة المنشأة
مرفق اختبار فوهة سونيك لمقياس الغاز(12 وظيفة)
11、قائمة التكوين
العنصر | الأجزاء الأساسية | ماركة | معامل | جودة |
1 | فوهات سونيك | 0.016、0.025 、 0.04、0.5、0.8、1.2、4m³ / ساعة | 7تعيين | |
2 | مستشعر الضغط المطلق | 80 ~ 120 كيلو باسكال | 1 تعيين | |
3 | مقياس الضغط | ± 10 كيلو باسكال | 3 تعيين | |
4 | جهاز استشعار درجة الحرارة | 0-50,± 0.2 ℃ | 3 تعيين | |
5 | جهاز استشعار الرطوبة | 0 ~ 100٪ , ≤3٪ | 1 تعيين | |
5 | معالج الصور الديناميكي | 7 التركيز التلقائي | 12 تعيين | |
6 | مضخة فراغ | 1.25 كيلو واط | 1 تعيين | |
7 | كمبيوتر | I39100 / 4G / SSD256 | 1 تعيين | |
8 | بريتر | A4 | 1 تعيين | |
9 | نظام الصمام | / | 1 تعيين |
اختبار عداد الغاز بفوهة سونيك من نوع GNP
1、عام
• مرفق اختبار فوهة GNP الصوتية لعدادات الغاز هو جيل جديد من مرافق الاختبار الأوتوماتيكي بدقة عالية وكفاءة عالية وثبات جيد.
• يتكون مرفق الاختبار من فوهة صوتية ، ونظام أخذ عينات صور ديناميكي ، ومنضدة اختبار ، ومضخة تفريغ بدون زيت ، ودائرة غاز للتحكم ، ونظام شريحة واحدة ، وجهاز كمبيوتر وما إلى ذلك. وهي تعتمد فوهة صوتية كمعيار رئيسي ، وسيتم اختيار الفوهات تلقائيًا بواسطة الكمبيوتر الشخصي حسب معدل التدفق المختلف.يتم تقديم شريحة واحدة وتقنية تحويل A / D عالية الدقة لقياس درجة الحرارة والضغط والرطوبة تلقائيًا ، والمشاركة في حساب الأخطاء وتصحيحها.وبالتالي لضمان دقة مرفق الاختبار.يمكن للنظام بأكمله تحقيق اختبار تلقائي كامل تحت تحكم الكمبيوتر ولديه وظيفة حفظ البيانات الأصلية والاستعلام والطباعة.
• يمكن لمرفق الاختبار إجراء اختبار تلقائي لمقياس الغاز الحاجز G1.6 ، G2.5 ، G4.0 وفقًا لـ JJG577-2012.النظام مزود بأخذ عينات الصور الديناميكية ، ومدخل مسح الرمز الشريطي ، ومفتاح الاستلام التلقائي للقصبة وإشارة النبض لمقياس الغاز ، والتلقائي تعويضات لدرجة الحرارة والضغط ، وحكم الخطأ ، والاستعلام عن البيانات ، ووظيفة التخزين والطباعة.
2、الشخصيات الرئيسيه
• مناسبة لخطأ الاختبار G1.6 ، G2.5 ، G4.0 مقياس غاز الحجاب الحاجز المحلي تحت ثلاثة معدل تدفق Qmax,0.2 كيوماكس وكمين
• اعتماد فوهة فنتوري الصوتية كمعيار لها,حدد تلقائيًا أفضل مجموعة فوهة بواسطة الكمبيوتر وفقًا لمعدل التدفق المختلف.
• يتم اختبار العديد من عدادات الغاز في وقت واحد في اتصال متسلسل مما يحسن بشكل كبير من كفاءة الاختبار
• حدد تلقائيًا لاختبار مقياس غاز المدخل الأيسر أو مدخل الجانب الأيمن بواسطة صمام التحويل
• يمكن جمع إشارة قراءة عداد الغاز بسرعة,بدقة وموثوقية عبر معالج الصور الديناميكي
• استقبال تلقائي لإشارة تبديل القصب وإخراج إشارة النبض بواسطة مقياس غاز البطاقة الممغنطة
• بعد الاختبار,سيحدد النظام تلقائيًا أفضل معدل تروس لمقياس الغاز
• مستشعر الدقة,يتم تقديم نظام شريحة واحدة وتقنية تحويل A / D عالية الدقة لقياس درجة الحرارة والضغط والرطوبة تلقائيًا ، والمشاركة في حساب وتصحيح الخطأ في الوقت الفعلي ، وبالتالي لضمان دقة مقعد الاختبار
• يمكن للنظام بأكمله تحقيق اختبار تلقائي كامل تحت تحكم البرنامج.واجهة البرنامج تتميز بالمظهر الجميل والتشغيل السهل.يمكن لبيانات الاختبار ونتائج التحليل ربط برنامج Excel وذلك لإنجاز تقرير الاختبار بسرعة.كما أن لديها تخزين البيانات,طباعة الشهادة,وظيفة التحليل والإحصاء.
3、خصائص معالج الصور الديناميكي
• كفاءة عالية: لا يتعرف معالج الصور الديناميكي على عداد عداد الغاز فحسب ، بل يحسب أيضًا الرقم ويحسب الوقت تلقائيًا.هكذا,هذا يعني تقصير وقت التشغيل الفارغ قبل اختبار عداد الغاز.خاصة بالنسبة لـ 0.2Qmax و Qmin ، مما يعزز الكفاءة بشكل كبير.إذا قارنا أخذ العينات الإلكترونية الضوئية ، يمكن لمعالج الصور الديناميكي تحسين الكفاءة بنسبة 20٪ -40٪.
• اختبار المسافة الطويلة: يحتوي معالج الصور الديناميكي على بكسل عالٍ ، ويمكننا تكبيره 7سم بين الكاميرا وعداد الغاز.
• معدل تجميع عالٍ: يتمتع معالج الصور الديناميكي بمعدل نجاح أعلى من 99٪ والذي يجمع إشارة عداد الغاز.إنه يتغلب على الضبط اليدوي ، يصعب التركيز عليه ، حتى أنه يجمع الإشارة بشكل غير ثابت بعد الضبط.
معالج الصور الديناميكي
4、حالة العمل المحيطة
• درجة الحرارة المحيطة:20 ± 5℃
• الرطوبة النسبية: 30٪ ~ 80٪
• الضغط الجوي: 86 ~ 106 كيلو باسكال
• وسائط العمل:هواء
• مزود الطاقة:220 فولت تيار متردد
• إمدادات الهواء المضغوط:فوق 0.4 ميجا باسكال
• حجم المنشأة:4.8 م(L)* 0.61 م(W)* 1.8 م(H)
5、هيكل النظام ومبدأ العمل
5.1 هيكل النظام(رسم بياني 1)
5.2 مبدأ العمل
تعتمد المعدات على فوهة Venturi الصوتية كمعيار لها.تتميز فوهة فنتوري الصوتية ببنية بسيطة ، وأداء مستقر ، ودقة عالية ، وسهولة الصيانة ، ودائرة تحقق طويلة (5 سنوات) ، وعدم وجود أجزاء متحركة ، إلخ.
(فوهات سونيك)
أثناء التشغيل ، يتم تحقيق تدفق الهواء في خط الأنابيب عن طريق الضخ.يدخل الهواء متر تحت الاختبار من خلال الفلتر ، ونظام التحويل الأيسر والأيمن ، ثم إلى حاوية الركود ، ثم إلى حاوية العازلة عبر فوهة الصوت وصمام التحكم ، وأخيراً في الغلاف الجوي عبر مضخة فراغ خالية من الزيت.عندما يصل تدفق الغاز عبر الفوهة الصوتية إلى حالة حرجة ، فإن الكتلة ومعدل التدفق الذي يتم تمريره عبر العداد تحت فوهة الاختبار الصوتية سيظلان دون تغيير.
لذلك فإن التدفق على الرغم من فوهة الصوت في غضون الوقت أمر مؤكد.وفي الوقت نفسه ، سيستقبل النظام إشارة أخذ عينات من عداد الغاز,إشارة استشعار درجة الحرارة, إشارة مستشعر الضغط, إشارة استشعار الرطوبة,الحصول على خطأ في عداد الغاز بعد التصحيح التلقائي تجاه درجة الحرارة هذه,عامل تأثير الضغط والرطوبة.
6、المواصفات الفنية الرئيسية
• عدم اليقين في النظام:± 0.5٪
• مناسبة لاختبار G1.6,G2.5,G4.0 عداد غاز الحجاب الحاجز
• العداد المراد اختباره:6 ، 8 ، 12 قطعة
7、التركيب والتكليف
• إجراء التركيب
• ربط مقعد الاختبار والكمبيوتر
• قم بتوصيل طاقة النظام ومصدر الهواء
• قم بتشغيل الكمبيوتر وتثبيت قاعدة البيانات وبرامج الاختبار الخاصة
8、إجراءات التكليف
• تحقق مما إذا كانت جميع إعدادات المعلمات صحيحة
• تحقق مما إذا كان الاتصال بين الكمبيوتر ومنضدة الاختبار أمرًا طبيعيًا
9、تثبيت البرامج
• متطلبات النظام
• وحدة المعالجة المركزية Intel Pentium III 866 MHz
• نظام Windows XP أو Windows7
• مساحة حرة على القرص تبلغ 2 جيجا بايت
• قرص مضغوط 4X السرعة
• 2 واجهة USB
• RS-232 كوم المسلسل بور
10、صورة المنشأة
مرفق اختبار فوهة سونيك لمقياس الغاز(12 وظيفة)
11、قائمة التكوين
العنصر | الأجزاء الأساسية | ماركة | معامل | جودة |
1 | فوهات سونيك | 0.016、0.025 、 0.04、0.5、0.8、1.2、4m³ / ساعة | 7تعيين | |
2 | مستشعر الضغط المطلق | 80 ~ 120 كيلو باسكال | 1 تعيين | |
3 | مقياس الضغط | ± 10 كيلو باسكال | 3 تعيين | |
4 | جهاز استشعار درجة الحرارة | 0-50,± 0.2 ℃ | 3 تعيين | |
5 | جهاز استشعار الرطوبة | 0 ~ 100٪ , ≤3٪ | 1 تعيين | |
5 | معالج الصور الديناميكي | 7 التركيز التلقائي | 12 تعيين | |
6 | مضخة فراغ | 1.25 كيلو واط | 1 تعيين | |
7 | كمبيوتر | I39100 / 4G / SSD256 | 1 تعيين | |
8 | بريتر | A4 | 1 تعيين | |
9 | نظام الصمام | / | 1 تعيين |
مع تحسن مستويات المعيشة وزيادة الوعي بحماية البيئة ، تغير الناس من استخدام أنواع الوقود التقليدية مثل الحطب والفحم ، والتي تعتبر مهدرة وملوثة ، إلى استخدام الطاقة النظيفة مثل الغاز الطبيعي والغاز ، أو حتى الكهرباء.هذا هو المكان الذي شارك فيه عداد الغاز الحاجز
مقياس الغاز المدني الغشائي عبارة عن مقياس تدفق غاز طبيعي موجب الإزاحة تستخدمه شركات المرافق لفواتير التطبيقات السكنية والتجارية الخفيفة.تتمثل مزاياها في تقنيتها التي أثبتت جدواها وقياسها الموثوق وجودتها المتسقة.بعد ذلك ، نلقي نظرة على عداد غاز الحجاب الحاجز
عداد غاز الغشاء المدفوع مسبقًا لبطاقة IC عبارة عن عداد غاز بغشاء مع وظيفة الدفع المسبق.يعتمد على عداد غاز غشائي مع جهاز إرسال ، باستخدام بطاقة IC كوسيط ، مزود بوحدة تحكم إلكترونية وصمام كهربائي.يدعم عداد غاز الغشاء المدفوع مسبقًا لبطاقة IC هذا العديد من
عداد الغاز الصناعي ببطاقة IC هو مقياس غاز صناعي تجاري وصناعي يشتمل على أفضل المنتجات المحلية والدولية.لقد تم تطويره بروح مبتكرة وخبرة مترات Kinhil لأكثر من 20 عامًا.عدادات الغاز هذه مناسبة للقاء
مقياس غاز الحجاب الحاجز الذكي IoT هو مقياس غاز غشائي يعتمد على تقنية الإنترنت +.يزود شركة الغاز بمعلومات دقيقة وفي الوقت المناسب عن العداد.في الوقت نفسه ، يسهل التحكم عن بعد والإدارة عن بعد لعداد الغاز من قبل شركة الغاز.عداد القاعدة
اقترضت هنا أولاً من شخص في الصناعة: إذا كانت تقنية NB-IoT تسمح لمقياس الغاز بإدخال أجنحة الاتصالات الذكية ، فإن تقنية القياس بالموجات فوق الصوتية هي حقن مجموعة العضلات الأساسية لمقياس الغاز ، في تقنية القياس كانت بشكل أساسي ، من أجل ال
في الوقت الحاضر ، تتقدم صناعة عداد تدفق الغاز بالموجات فوق الصوتية باستمرار في مختلف البلدان ، وتشرع شركات قياس تدفق الغاز بالموجات فوق الصوتية تدريجياً في طريق البقاء والتطوير من خلال الإدارة الجيدة ، وتحسين جودة الخدمة ، وفرض رسوم على إدارة السلامة والمقاييس.
يمكن استخدام مقياس تدفق الغاز بالموجات فوق الصوتية بعدة طرق: الموجات فوق الصوتية ، والضغط ، ودرجة الحرارة ، وغيرها من تقنيات الكشف والتحكم المتوافقة مع المجسات المتعددة لست فئات من النطاقات كبيرة الحجم.نوع خاص من الغرف مع اختراع حاصل على براءة اختراع يتيح المعايرة الذاتية وأقصر st
منصة إدارة البيانات عبارة عن نظام يعمل على تحسين نموذج دفع الطاقة التقليدي باستخدام طريقة الشراء والاستخدام والفصل التلقائي للكهرباء لتحقيق تكامل الفائض والشحن والتحكم ، مما يجعل دفع الطاقة أسهل وأكثر كفاءة.داتا كوم
تُستخدم منصة إدارة البيانات في مجالات إدارة الطاقة في المجمعات التجارية والمناطق السكنية ومباني المكاتب والمحلات التجارية والمدارس والمصانع والمناجم.كما أنه يقلل من الموظفين والتكاليف خلال الفترة ، مما يقلل بشكل كبير من تكاليف فواتير الإدارة وبالتالي تعزيز e
مع استمرار تحسن مستويات المعيشة ، أصبح الناس أكثر فأكثر صداقة للبيئة ، ويتم التخلي تدريجياً عن مصادر الطاقة التقليدية التي تلوث بشدة.مع بناء وتعميم خطوط أنابيب نقل الغاز ، ظهرت عدادات الغاز من الميكانيكية
عداد الغاز بالموجات فوق الصوتية للقضاء على حوادث الغاز في مهدها في الآونة الأخيرة ، كانت انفجارات الغاز في أذهان الناس في جميع أنحاء العالم ، والأخبار حول سلامة الغاز في كل مكان.مع الزيادة السريعة في عدد مستخدمي الغاز ، أصبحت حوادث سلامة الغاز في المدن ثالث أكبر قاتل
مقياس الغاز فوق الصوتي هو الأساس لتسوية تجارة الطاقة.في السنوات الأخيرة ، تم تفضيل طرق القياس الإلكترونية مثل الموجات فوق الصوتية والحرارية لأنها أكثر دقة وموثوقية واستقرارًا في التشغيل وخالية من الصيانة ، وقد أحدثت تغييرًا مهمًا في عداد الغاز
مع استمرار تحسن مستويات المعيشة ، أصبح الناس أكثر وعياً بالبيئة ويتم التخلي تدريجياً عن مصادر الطاقة التقليدية التي تلوث بشدة.في الستينيات والسبعينيات ، أدخلت الدولة أيضًا سياسات خطوط أنابيب الغاز والتدابير المقابلة.مع التفسير
يستخدم مقياس الغاز بالموجات فوق الصوتية الموجات الصوتية لتحديد السرعة التي يتدفق بها السائل عبر الأنبوب.في ظل الظروف غير المتدفقة ، يكون تردد الموجات فوق الصوتية المنقولة إلى الأنبوب هو نفسه التردد الذي تعكسه من السائل.تحت ظروف التدفق ، تردد المرجع
كاشف تسرب الغاز مستخدم لاكتشاف التسرب واختبار إحكام الغاز والصيانة التنبؤية.عادة ما يشير الكشف عن الموجات فوق الصوتية إلى نطاق تردد أعلى من 20 كيلو هرتز ، بينما يمكن أن يستقبل الحد الأعلى للأذن البشرية 16.5 كيلو هرتز ، واستخدام هذه الخاصية فوق الصوتية
كيفية استخدام كاشف تسرب الغاز جهاز إنذار تسرب الغاز هو أداة تستخدم للكشف عن تركيز تسرب الغاز ، والذي يمكنه الكشف عن تركيز الغاز في البيئة.على سبيل المثال ، هناك بعض الغازات السامة والخطرة أو الغازات القابلة للاحتراق في الإنتاج الصناعي ، لذا يمكنك الإسراع
وضع التطور السريع لأعمال الغاز في المدينة قياس الغاز على أساس مهم إلى حد ما.لا تُستخدم عدادات الغاز فقط لقياس النقل في خطوط أنابيب الغاز وقياس الغاز في المؤسسات الصناعية والتعدين ومؤسسات الرفاهية ، ولكنها أيضًا شائعة في ملايين الساعات.
وفقًا للإحصاءات ، تجاوز الاستخدام عبر الإنترنت للغاز المدني الغشائي 50 مليون وحدة.مع تطوير وتطبيق الغاز الطبيعي في الصين ، تم الانتهاء من الخطين الأول والثاني من مشروع 'غرب-شرق نقل الغاز ' ومشروع 'شنشي غاز إلى بكين ' ، أو
مقياس الغاز المدني الغشائي هو أداة للقياس الدقيق لتدفق غاز خط الأنابيب ، والذي يستخدم على نطاق واسع في البترول والكيماويات والطاقة الكهربائية والمراجل الصناعية وغيرها من مجالات قياس الغاز ، والتي تنطبق على الغاز الطبيعي وغاز المدينة والبروبان والبيوتان والإيثيلين والهواء والنيتروجين والغازات الأخرى.تي